
苹果3月发布会的日期在本周已经最终确定。除了备受关注的iPhone SE和新款iPad之外,苹果可能还会在发布会上分享和Apple Watch相关的新东西:可能是新一代的升级机型,或者只是一些高端表带。
无论如何,初代Apple Watch上市距今已经接近一年,我们也是时候去分析围绕着二代机型的传闻了。
设计

苹果并不会对Apple Watch 2进行大幅度的改动,比如带来圆形表盘,而是会通过引入新的材料和磁力表带来吸引新的购买者,并提高设备的便携性。这些设备的价格据传在1500-12000美元之间(约合人民币9741-77928),相比最贵的不锈钢版Apple Watch(8288元元)和最便宜的Apple Watch Edition(74800元)的价格区间有所不同。据称苹果将会尝试的新材料包括钨、钯、钛和铂。

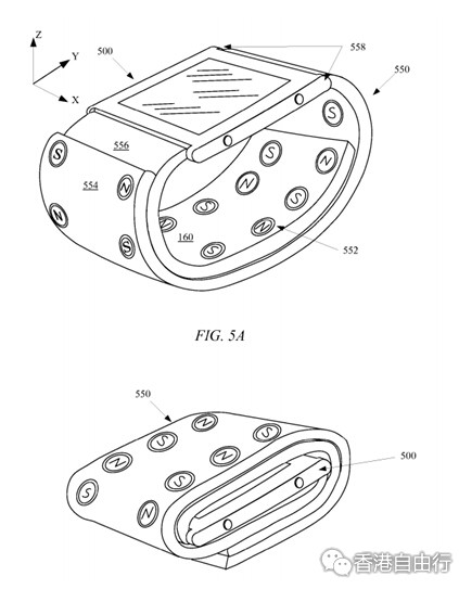
此外,苹果已经获得了一项磁力表带的新专利,可提高传统表带的灵活性。和米兰尼斯表带一样,这种表带内置的磁铁可以在佩戴是固定Apple Watch的机身,并在被摘下时包裹住机身以保护显示屏。与此同时,它还能成为支架将手表支撑起来。
功能
原本Apple Watch已经可以追踪用户的心率、步数和消耗的卡路里了,而二代机型(或新的软件升级)可能还会引入一个新的健康功能。当检测到用户出现意外情况时,设备会自动向医生呼救。
该功能出自苹果所获得的一项专利申请,它描述了Apple Watch或其他健康追踪设备是如何利用传感器检测到佩戴者需要帮助或医疗援助,并向医疗机构发出求救信号的。由于Apple Watch本身并没有调制解调器,苹果可能会在二代机型上加入相关部件,或是利用iPhone的数据连接来发送信号。
配置

作为新的升级机型,硬件配置上的提升自然是必不可少的。以下便是Apple Watch 2可能会带来的配置升级。
处理器
初代Apple Watch的性能和续航一直是用户经常会抱怨的两个地方,为了解决这些问题,苹果可能会求助于最新的芯片技术,具体来讲,他们很有可能已经设计出了基于ARM Cortex-A32 CPU核心的处理芯片。
A32是目前最小、功耗最低的ARM v8-A设计,能效(每mW性能)相比A7提高了23%。它在32位计算环境中使用了最新的ARM v8-A指令集,这是因为64位处理器的耗电量可能超过了理想范围。此外,A32核心在拥有新的电源管理功能,可将空闲时的电能消耗降至最低。
联网
目前,Apple Watch在不连接iPhone的情况下仅支持运动追踪、音乐播放和移动支付,而短信、邮件和第三方应用则必须依赖于iPhone。WatchOS 2的确带来了本地运行第三方应用的能力,但它们发送和接收数据依然需要通过iPhone。为了突破这个限制,苹果可能会在二代机型上带来3G/4G联网功能,使其可以自行处理短时的数据流量。
续航

了解决Apple Watch续航能力较弱的问题,据传苹果将会联合LG及三星开发更薄的OLED面板,以适配更大容量的电池。至于屏幕尺寸、分辨率和其他显示技术层面,苹果都不会进行任何改变。
摄像头
苹果可能会在Apple Watch 2身上加入一个FaceTime摄像头,让用户可以直接在手腕上进行视频通话。目前,watchOS 2已经加入了对于FaceTime通话的支持,因此软件基础已经到位。
发布日期和售价
目前和Apple Watch 2发售相关的信息还非常杂乱。有的报道称这款设备会在4月份上市,相距上代机型正好1年时间。但Apple Watch生产商广达电子的董事长Barry Lam之前曾表示,少量的Apple Watch将在6月末生产完成,三季度的产量则会进一步提高。如此一来,这款设备的发布时间应该在6月或7月,或者是推迟至与iPhone一同在9月发布。
Apple Watch 2的售价目前也没有任何明确信息,但如果按照其他产品的惯例,苹果应该会维持和初代机型相同的价格。

To Hong Kong Group Co., Limited 【3HK.CN 上香港网】
香港电话:852-60629533 香港各品牌电话地址查询 【点击自查,或人工客服加微信号:hkziyouxing 】
本站部分图文分享自互联网。若您发现有侵犯您版权的,请及时告知
我们第一时间删除侵权作品。邮箱: tony#3hk.cn(请将#转为@) 企业QQ:764435673
【3HK.CN 上香港网】香港自由行|香港旅游|香港购物|香港美食|酒店预订等首选资讯服务平台,为品牌/商家提供最佳广告宣传平台。