近期美国商标专利局公布了一项苹果申请的新专利,显示苹果正在研发防水iPhone,并且该技术与目前市场上的防水手机的外部防水有所不同。
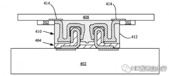
据悉,该专利包括一种“保护电子设备元器件免受潮湿的保护办法”,主要是从手机内部来实现手机防水,即在手机内部组件中覆盖一层防水涂层,可以将电路板完全包住,使手机组件在接触到水后防止受损。目前市面上的防水手机基本都是从外部加强严密性做到防水。

苹果防水专利(图片来自苹果专利)

苹果防水专利(图片来自苹果专利)
目前做防水手机比较有代表性的是一直在坚持的索尼,并且比较值得尊重的是其也并没有因市场对防水功能需求的大小而改变这一决断。而苹果iPhone目前是不具备防水功能的,我们也很高兴看到苹果在这方面进行了投入。希望未来的iPhone都能够增加这个新的特性。
在苹果的此项专利申请描述当中具有一个类似iPhone的模型,不过目前还不清楚该防水功能会在哪一代的iPhone上开始启用,希望下一代的iPhone6s和iPhone6s Plus上能够实现。

To Hong Kong Group Co., Limited 【3HK.CN 上香港网】
香港电话:852-60629533 香港各品牌电话地址查询 【点击自查,或人工客服加微信号:hkziyouxing 】
本站部分图文分享自互联网。若您发现有侵犯您版权的,请及时告知
我们第一时间删除侵权作品。邮箱: tony#3hk.cn(请将#转为@) 企业QQ:764435673
【3HK.CN 上香港网】香港自由行|香港旅游|香港购物|香港美食|酒店预订等首选资讯服务平台,为品牌/商家提供最佳广告宣传平台。