
此前有许多报道都称作为iPhone 5的小改款机型,iPhone 5S将加入指纹识别技术。然而近日就有国外媒体发现苹果已于本周二获得了一项指纹识传感器的专利技术,这意味着iPhone 5S或许的确有可能会搭载指纹识别技术。
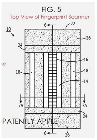
在这项专利的说明中,苹果详细地展示了指纹识别传感器的内部结构,并说明了相应的工作原理。苹果表示用户在触摸传感器时,传感器内部的边框部分会发出一股微弱的电流来激活传感器的指纹识别功能。另外,苹果还说明了传感器和边框的组合方法。
如果苹果真的打算给iPhone 5S加入指纹之别功能的话,那么传感器模块很可能会被安放到Home键中。不过从目前泄露出的iPhone 5S零件谍照来看,并没有证据表明iPhone 5S会搭载指纹识别功能。此外,这些谍照中的零件也与目前iPhone 5的零件非常类似,这意味着明年发布的iPhone才可能会有外观上的重大改变。




To Hong Kong Group Co., Limited 【3HK.CN 上香港网】
香港电话:852-60629533 香港各品牌电话地址查询 【点击自查,或人工客服加微信号:hkziyouxing 】
本站部分图文分享自互联网。若您发现有侵犯您版权的,请及时告知
我们第一时间删除侵权作品。邮箱: tony#3hk.cn(请将#转为@) 企业QQ:764435673
【3HK.CN 上香港网】香港自由行|香港旅游|香港购物|香港美食|酒店预订等首选资讯服务平台,为品牌/商家提供最佳广告宣传平台。