试想一下,如果你的下一代iPhone将具有自动跌落保护机制、或是防止陌生人使用的生物指纹识别系统,是不是很酷?又或者是MacBook屏幕可以拆下来,充当一个便携式平板,你会感兴趣吗?这并非痴人说梦,根据苹果最新的专利组合,在未来都有可能实现。事实上,苹果近期在美国专利和商标局申请了多达15种的最新专利,虽然我们暂时无法得知它们会出现在哪些产品上、什么时候会出现,但是这些想法无疑都是令人兴奋的,下面就来看看这些未来的苹果产品会为我们带来怎样的新奇体验吧。

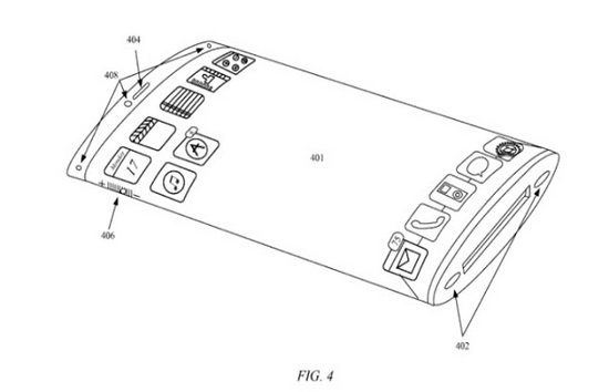
一. 拥有全环绕式显示屏的iPhone

众多周知,苹果并不希望通过增加手机尺寸来提升显示面积,所以便有了这个“环绕显示电子设备”的专利。根据相关文件显示,使用了这种专利技术的iPhone将采用中间厚、边缘薄的梭型设计,不仅能够带来更大的显示面积,允许用户同时显示两个应用内容,还可以更方便地分享图片视频等多媒体内容。同时,传统的物理式按键都会被取消,如果需要调节音量,只需用手在显示屏旁边悬停一下,就能够看到相应虚拟控制按钮。总得来说,这个设计的概念与三星的柔性屏幕手机很相似,但对于目前的iOS系统来说,取消Home键似乎暂时还无法实现。
二. iWatch智能手表

在近几个月来,苹果“iWatch”智能手表的传言愈演愈烈,这一切都归功于今年早期苹果申请的一项专利技术。该专利的描述了一种具有柔性屏幕设计的可穿戴式智能设备,虽然没有明确指向智能手表,但毫无疑问是最为接近的。根据彭博社的预测,苹果iWatch或将采用柔性屏幕设计来实现可卷曲造型,就像一个老式的手镯,并且运行iOS系统,已经有100多个开发者投入到相关工作中。
三. 具有自我保护功能的iPhone

苹果iPhone虽是最好的智能手机,但从来都不是最坚固的,易碎的屏幕向来令用户诟病。苹果似乎也意识到了这个问题,“电子设备保护机制”的专利内容显示,通过在iPhone内置相应传感器,来识别跌落动作,然后自动调整手机的方向,避免脆弱部分的损伤,比如屏幕。如果未来iPhone真得能够自动“翻身”的话,想必我们也不必再忍受昂贵的屏幕更换费用了。
四. 内置于屏幕中的指纹解锁

苹果向来不喜欢复杂而丑陋的设计,所以如果要内置一个硕大的指纹识别装置到iPhone中,基本上是不可能的;而将其融入到触摸屏中,显然是一个完美的解决方案。这项专利应用了生物指纹识别系统,在你滑动解锁的时候读取你的指纹信息,从而提高iPhone的安全性。同时,苹果也将对App Store中的软件商开放API接口,让它也可以应用到更多场景中。比如你使用网银进行支付,完全不必再输入密码,只需滑动手指来验证身份,毕竟指纹是独一无二的,远比密码来得安全。
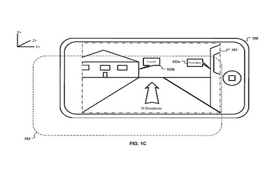
五. 室内导航

苹果CEO蒂姆·库克曾公开表示,将尽快重整令人诟病的苹果地图应用;同时,苹果iOS开发团队似乎对地图应用还有一些更新的想法。根据一份最初在2011年提出的专利内容显示,苹果将开发一个支持室内环境映射的导航系统。考虑到之前苹果公司收购了室内测绘公司WiFiSlam,使得这个传闻变得更加可信。另外,该专利还能应用于街景导航,提供环境的360度全景还原功能。
六. 笔记本/平板混合式MacBook

微软Windows 8系统让支持触摸屏的电脑/混合平板逐渐普及,苹果其实也拥有类似的产品计划。这个专利描述了一种可以拆卸式笔记本产品机制,显示器与底座通过某种接口连接,并且显示屏支持触摸功能,能够完成一切的电脑功能操作。更有趣的是,拆下的显示器部分,依旧可以通过无线充电功能从底座上获得电力。不过,从苹果对使用体验的完美苛求态度来看,Mac OS X系统的触摸化转变将是一个硕大的工程,而不会像微软Windows 8那样仓促推出。
七. iPhone的增强现实功能

苹果的专利“具有互相性和同步功能的增强现实显示设备”,描述了iPhone手机如何实现增强现实的功能。基于AR专利的基础上,可以显示你周围真实世界的相关信息,并且通过现场视频的形式来展现。另外,用户能够与数据库进行交互操作,以纠正错误信息或添加丢失的数据。
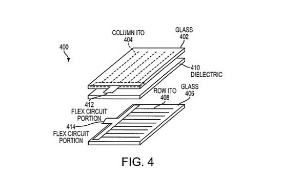
八. 太阳能供电的iPhone

忘记无线充电吧,苹果或许将在未来的iPhone中提供太阳能充电功能,并且是通过将太阳能充电板集成到屏幕中而实现的。这项虽在今年才公开但早在2008年就已成功递交的专利,提出了在触摸屏传感器阵列的电极上增加吸收太阳能的功能,并非传统的太阳能手机,需要单独设计一块接收板。
九. 在呼叫等待中显示定制化内容

这是一个iOS功能性方面的专利。没有人喜欢呼叫等待的时候,苹果则希望让这个时间更好地被利用起来。比如你和一个联系人进行通话,在呼叫等待的过程中,屏幕会显示与他个人相关的内容,比如约会、相关日程等。
十. 智能操作
近期发布的三星Galaxy S4,可以实现悬浮预览的先进的手势功能,让用户进行照片、视频等内容的预览操作。无独有偶,苹果也具有一份名为“直观的,基于手势的通信物理操作”专利内容,其中指出,可以通过设备的前置摄像头来分辨用户的动作,来实现各种操作。
十一. 具有远程控制功能的设备
三星Galaxy S4、HTC One和LG Optimus G Pro等最新智能手机,都搭载了一个红外端口,从而取代传统的家电遥控器,苹果的一个专利也暗示了相似的功能。名为“便携式媒体播放器远程控制”的专利表明,可以使用iPod等设备来遥控家电。虽然并没有明确指向iPod,但文件内容倾向于将其应用MP3播放器上,以实现远程操控扬声器等设备。我们可以很容易地看到这项功能扩展到iPhone和iPad上,用于遥控未来极有可能出现的苹果iTV智能电视。
十二. 根据环境温度改变颜色的显示技术
苹果似乎要尝试使用新的方式来调整移动设备屏幕上的颜色效果。据其专利“根据环境温度改变颜色显示”的描述,这项技术将检测环境温度,从而调整屏幕的颜色效果,带来更精准的显示。事实上,液晶面板会随着温度的不同而改变显示属性,比如在高温下容易显示蓝色,而低温下则显示更多黄色,所以这项技术也是具有一定实用价值的。
十三. Mac系统的图形化联系人管理界面
虽然苹果近年来专注于移动设备领域,但也没有抛弃Mac桌面系统。在今年三月底公布的一项专利描述了一种新的用户界面,将带来图形化的整合式联系人界面。该专利的标题为 “联系人图形用户界面”,这个功能允许你设置每个联系人的照片和排名,类似于大多数智能手机上 “我的最爱”功能。从理论上讲,你就可以拖动任何文件到联系人头像中,轻松地共享内容。
十四. 提供苹果产品定制服务的自动售货机
这项专利告诉我们,未来你在Apple Store购买产品,不仅仅可以在机身背部刻字,还可以直接通过自动售货机,在不开启外包装的情况下,实现更多内容定制服务。专利指出,你可以定制设备内的应用程序、iTunes多媒体内容,甚至通过自动售货机添加类似“生日快乐”的信息到设备中。
十五. 能给 iPad充电的Smart Cover
一项名为“在保护壳中集成感应式充电”的苹果专利显示,未来的iPad Smart Cover保护壳很可能会变得更加“聪明”。Smart Cover中将添加一个内置的感应器和电力,将保护盖合上时即可为iPad充电。另外,苹果在专利中标注,这项专利并不仅仅局限于iPad产品,也能够兼容的许多形式的电子设备。
来源:laptopmag
