
美国专利与商标局近期披露了8,364,032号专利细节,专利中展示了一款没有Home键和前置摄像头的iPhone(后置摄像头还是有的)。根据专利中的描述,这款设备采用“透明的塑料机身”,应该指的就是传说中的廉价版iPhone。
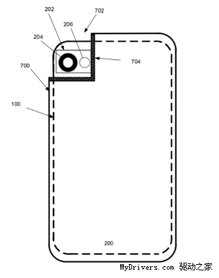
这款专利被描述为“针对小型电子设备的轻型独立式保护外壳”。外壳至少可以包裹并保护设备背部,并且不会影响后置摄像头拍照成像。
苹果在去年2月21日申请这项专利,并在今年1月29日获得批准。主要发明人是苹果工程师Chong Yip Chow、Hongqin Zhang、Shizhe Shen和Michael DiVincent。专利的全文在这里。
由于低于预期的iPhone销量,苹果已经痛失全球市值最高公司的宝座。廉价版iPhone预计可以为该公司带去65亿美元收入。除此之外,还有传闻苹果将推出另一款4.8英寸屏幕的iPhone Math。

这款专利被描述为“针对小型电子设备的轻型独立式保护外壳”。外壳至少可以包裹并保护设备背部,并且不会影响后置摄像头拍照成像。


To Hong Kong Group Co., Limited 【3HK.CN 上香港网】
香港电话:852-60629533 香港各品牌电话地址查询 【点击自查,或人工客服加微信号:hkziyouxing 】
本站部分图文分享自互联网。若您发现有侵犯您版权的,请及时告知
我们第一时间删除侵权作品。邮箱: tony#3hk.cn(请将#转为@) 企业QQ:764435673
【3HK.CN 上香港网】香港自由行|香港旅游|香港购物|香港美食|酒店预订等首选资讯服务平台,为品牌/商家提供最佳广告宣传平台。