
别说我“炒作”,我敢说没人不好奇iPhone 8长什么样。事实上,这场一年一度的“苹果猜谜大会”,从去年iPhone 7推出之后就开始了,并且愈演愈烈。
很简单,iPhone 7虽然是正统数字序列机型,但设计和功能几乎没有惊喜和突破。而今年恰逢iPhone问世10周年,分析师、媒体普遍认为苹果会跳过“7s”系列、直接推出iPhone 8。那么都10周年了,苹果你得拿出点有意思的玩意儿吧……
综合目前消息来看,OLED屏幕、全面屏设计、无Home键(屏幕指纹传感器)是可信度比较高的,毕竟综合以前iPhone传闻期的经验,一些东东说着说着就成真了(笑)。
另外,“猜谜大会”带来的另一项福利,就是各种设计师的概念iPhone 8,有的比较写实,基于传闻再加上自己一点创意;有的则完全是脑洞,能变形、能扩大屏幕甚至半透明,估计苹果真出了你也不敢用……
好了,一起来看看他们眼中的iPhone 8都长成什么样子吧。
“iPhone 7s”?

这款iPhone 8概念设计,乍一看基本上就是iPhone 7s,为什么这么说呢,因为外型变化真的不算大,包括令人熟悉的边角弧度。如果iPhone 8真长这样,估计很多朋友又会开启“吐槽模式”了……

当然,变化还是有的。虽然Home键依然存在,但其实已经扩展成了触摸屏,与MacBook Pro的Touch Bar非常相似,可以在不同的界面、应用下变化,实现扩展功能键的体验。
这种设计其实很有必要,因为iPhone 7的下边实在是太大了,并且完全没有利用到,屏占比和利用率真是低到爆炸。

另外一个与之思路相同的概念设计,则进一步扩展了屏占比,也就是目前流传很广泛的“全面屏设计”,iPhone 8几乎没有任何边框,看起来与三星S8一样酷。当然,我个人对苹果能否做到如此程度表示怀疑……

不同的是,Home键完全消失了,Touch ID直接集成在屏幕下方,与界面形成为一个整体,这个部分好评!

但总得来说,我感觉这种设计思路基本上是“iPhone 7s”,毕竟机身整体框架变化不大,没有三星S7到S8那种巨大的升级感。但个人感觉,这也可能是最接近真实的iPhone 8设计。
后置相机变纵向排列

“姨妈红”iPhone 7系列推出之后,很多人认为它将成为iPhone 8的首发颜色之一,这很符合逻辑。然后,结合此次OLED屏幕、无Home键及“富士康员工手绘图”,新的“写实派”概念iPhone 8也随之诞生了。

这款概念iPhone 8的渲染效果不错,全覆盖式曲面屏看着很真实,同时融入了动态屏幕Touch ID设计,也就是说需要使用指纹时屏幕下方会出现验证提示、而在其他界面下则承担控制中心或是软件功能键。
设计上的一个明显变化是后置双摄相机从横置变为竖置,说不上丑但我感觉略别扭。那么,你是更喜欢横置还是竖置呢?另外,相机光学变焦也从2X变为4X,这个提升我觉得还是很酷的,希望苹果能够实现。
iPhone X是什么鬼?

关于下一代iPhone究竟是“7s”还是“iPhone 8”甚至是“iPhone X”尚无定论,所谓的“iPhone X”是独立于普通版本的高级版,也就是所谓的“10周年纪念版”,配置最高价格最贵。

根据该传闻制作出来概念机渲染图质感不错,可以看到边框回归类似iPhone 4,金属感更强烈。后置相机则为竖置,另外还可以看到iPhone 7时期就已经开始流传的智能接口,难道iPhone X还可以连接智能键盘?

全面屏设计也是好评,但是这上下硕大的黑边是什么鬼?!设计师你能做得和谐点靠谱点吗?
颜色方面除了亮黑、磨砂黑,金色、玫瑰金、白色则统一为白色后面板,只是边框颜色不同,这种配色设计是否好看见仁见智吧,但我感觉苹果不会采用。

不过OLED屏还是蛮美的,Touch ID也集成在屏幕中。但是苹果,拜托、拜托!不管有没有Home键,一定把黑边做窄点可以吗。
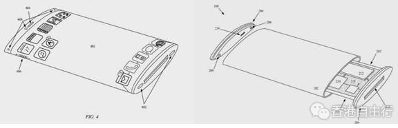
这专利版也是丑到没sei了

作为全球市值第一的科技大厂,苹果每年申请的专利不计其数,毕竟“一线厂商玩标准”,嘛,虽然有些专利看起来令人匪夷所思。

比如一个类似iPhone的专利,居然采用了楔形机身、上下可打开更换电池,另外屏幕也是曲面设计延伸到边框。感觉上怎么有点像是索尼爱立信时期的设计呢?

也有概念设计师按照专利图把它渲染出来了,这样看起来还好,略有点像三星Edge系列。

这个角度看就略有点丑了,这样的苹果审美我想即便是非粉丝也接受不了吧!这还没完,更丑的还在后面……
真的是后面哦,看看这山寨感十足的背部双摄相机,如果真是如此,估计一堆Android厂商会跳出来说:“苹果你抄我的设计”……好在,苹果的专利很多都不会变成量产产品。
这么薄不怕坐弯?

这款概念iPhone 8乍一看没啥毛病啊,全面屏、无边框、无Home键,挺符合传闻描述的。

但是,侧面却是这样的画风,这就是所谓的“iPhone 8 Utral Thin”,超薄款嘛。还记得iPhone 6被坐弯的恐惧吗?虽然苹果在之后使用了强度更高的铝合金,但这么薄估计还是受不了屁股坐吧……

别急!不是说苹果正在研发新型合金吗?也许有一天iPhone真的会这么薄,但绝不会是iPhone 8。
最逼真iPhone 8渲染图?你逗我?

这几天,网上还传出了一款所谓“最逼真iPhone 8渲染图”,我想问没在逗我?看到用户的手没有,居然能够透过屏幕看到,iPhone 8这是习得了索尼爱立信X5透明手机的秘技吗?

当然,其他方面还是蛮像的,全面屏和边角处理让我感到很舒服。至于透明屏幕,则是后置面板融入一种高新传感器及可变金属涂层,手持时变透明、平时则是一般金属的样子。

等等,我记得iPhone 8应该是用玻璃机身啊……
iPhone 8 Edge Plus

这名设计师一看就是三星的死忠粉,把Edge的侧面曲屏移植到iPhone 8上,看着居然还蛮和谐的。

更加脑洞的还在后面。这不仅仅是一个简单的曲面侧屏,而是可以按一下就延伸出来的柔性屏幕!三星设计师,别搞Galaxy Wing了,快来看看“iPhone Wing”!

也许你觉得假,但设计师还专门解释了设计原理,在iPhone 8机身中加入机械结构控制延伸框架,再加上屏幕是柔性的、可拉伸的,手机变平板不就这么简单。
当然,这个设计可能没考虑机械磨损和故障率,如果这个问题解决了,我觉得未尝不可一试!
iPhone 8 Transformer

既然画风已经开始变得清奇,那么我们就用一款“iPhone 8 Transformer”来结束本文吧。
这么看这款iPhone 8设计略显保守,虽然搭载双摄但Home键仍存在,不过屏占比倒是高了一点。当然,这不是它的绝活。

当你要自拍时按下屏幕,双层后盖会分离、内置360度机械支架支起,手机转动使用后置相机拍下美美的你……这脑洞如何?

你看看这个内置的支架结构设计,我感觉设计师是工业大神啊,看着真的很靠谱。
iPhone 8 Transformer不仅能自拍,还可以架在车前成为行驶记录仪,自拍杆手机支架什么的全都可以Bye Bye了。
让苹果造出这样的iPhone其实不太现实,我觉得可以考虑一下改装。
好了,各种写实的、科幻风的iPhone 8设计都已经看过了,哪款是你最喜欢的?当然,距离正主发布至少还有5个月,希望苹果今年别让我们失望吧,至少别比概念机丑是不是?
To Hong Kong Group Co., Limited 【3HK.CN 上香港网】
香港电话:852-60629533 香港各品牌电话地址查询 【点击自查,或人工客服加微信号:hkziyouxing 】
本站部分图文分享自互联网。若您发现有侵犯您版权的,请及时告知
我们第一时间删除侵权作品。邮箱: tony#3hk.cn(请将#转为@) 企业QQ:764435673
【3HK.CN 上香港网】香港自由行|香港旅游|香港购物|香港美食|酒店预订等首选资讯服务平台,为品牌/商家提供最佳广告宣传平台。
评论