核心提示:海关总署发出公告,4月15日开始执行新进境物品完税价格表。根据海关相关条例规定,个人自用进境物品,总值在5000元人民币以内的免税,海关仅对超出部分征税。征收标准举例如下:奶粉定价200元/千克,税率10%,征税20元,税款总额50元以下免征,即2.5公斤以下免征。
据海关总署近日发布的公告称,根据《中华人民共和国进出口关税条例》和国务院2011年1月批准调整的《中华人民共和国进境物品进口税率表》,海关总署重新修订了《中华人民共和国进境物品归类表》,自2012年4月15日起执行。
为适应市场发展需要,根据《中华人民共和国进出口关税条例》和国务院2011年1月批准调整的《中华人民共和国进境物品进口税率表》(海关总署公告2011年第6号公布),海关总署重新修订了《中华人民共和国进境物品归类表》(以下简称《归类表》)及《中华人民共和国进境物品完税价格表》(以下简称《完税价格表》),现予以公布,自2012年4月15日起执行。海关总署2007年6月修订的《入境旅客行李物品和个人邮递物品进口税税则归类表》及《入境旅客行李物品和个人邮递物品完税价格表》(海关总署公告2007年第25号公布)同时废止。现就有关事宜公告如下:
一、进境物品依次遵循以下原则归类:
(一)《归类表》已列名的物品,归入其列名类别;
(二)《归类表》未列名的物品,按其主要功能(或用途)归入相应类别;
(三)不能按照上述原则归入相应类别的物品,归入“其他物品”类别。
二、进境物品完税价格遵循以下原则确定:
(一)进境物品的完税价格由海关依法遵循以下原则确定:
1.《完税价格表》已列明完税价格的物品,按照《完税价格表》确定;
2.《完税价格表》未列明完税价格的物品,按照相同物品相同来源地最近时间的主要市场零售价格确定其完税价格;
3.实际购买价格是《完税价格表》列明完税价格的2倍及以上,或是《完税价格表》列明完税价格的1/2及以下的物品,进境物品所有人应向海关提供销售方依法开具的真实交易的购物发票或收据,并承担相关责任。海关可以根据物品所有人提供的上述相关凭证,依法确定应税物品完税价格。
(二)边疆地区民族特需商品的完税价格按照海关总署另行审定的完税价格表执行。
三、纳税义务人对进境物品的归类、完税价格的确定持有异议的,可以依法提请行政复议。
特此公告。
附件1:
附件2
2.中华人民共和国进境物品完税价格表
1.中华人民共和国进境物品归类表








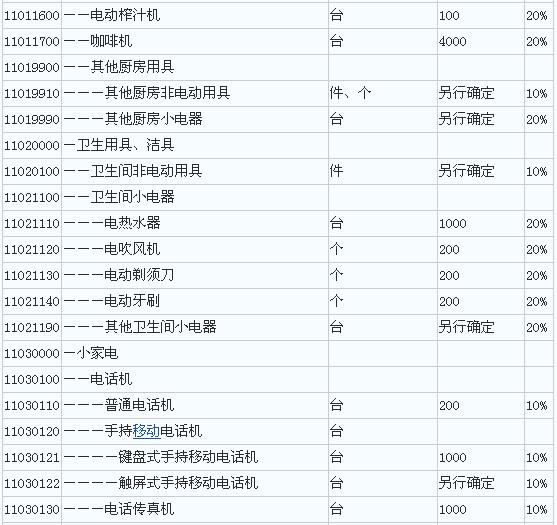
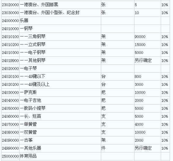
附件2.中华人民共和国进境物品完税价格表






















备注:
对02000000税号项下的各类酒,单瓶容量超出750毫升的,每满750毫升按照1瓶计征税赋,超出部分不足750毫升的不予计算。
二○一二年三月二十六日
(本文来源:海关总署 )
To Hong Kong Group Co., Limited 【3HK.CN 上香港网】
香港电话:852-60629533 香港各品牌电话地址查询 【点击自查,或人工客服加微信号:hkziyouxing 】
本站部分图文分享自互联网。若您发现有侵犯您版权的,请及时告知
我们第一时间删除侵权作品。邮箱: tony#3hk.cn(请将#转为@) 企业QQ:764435673
【3HK.CN 上香港网】香港自由行|香港旅游|香港购物|香港美食|酒店预订等首选资讯服务平台,为品牌/商家提供最佳广告宣传平台。
评论